wie soll Ihr Einkauf zu Ihnen gelangen?
Unser Service- & Lieferkonzept
Haben Sie Fragen?
+49 (0)4328 / 178 -0
+49 (0)4328 / 178 -0
Oder nutzen Sie unser Kontaktformular
Wohin sollen wir liefern?
Bitte geben Sie die Postleitzahl passend zu Ihrem Wunschlieferort innerhalb von Deutschland ein und bestätigen Sie mit "Suchen". Somit können wir den Servicepartner für Ihre Lieferung bestimmen.
Unser Service- & Lieferkonzept
Haben Sie Fragen?
+49 (0)4328 / 178 -0
+49 (0)4328 / 178 -0
Oder nutzen Sie unser Kontaktformular
Bitte geben Sie die Postleitzahl passend zu Ihrem Wohnort innerhalb von Deutschland ein und bestätigen Sie mit "Suchen".
Wir ermitteln dann die nächstgelegenen Servicepartner für Sie.
Unser Service- & Lieferkonzept
Haben Sie Fragen?
+49 (0)4328 / 178 -0
+49 (0)4328 / 178 -0
Oder nutzen Sie unser Kontaktformular
Die Nut- und Federverbindung bei Holzbrettern sichert eine planmäßige ebene Verbindung, so dass die gebildete Fläche eine gleiche und einheitliche Höhe erreicht, so zum Beispiel bei Fußböden aus Rauspund oder Hobeldielen. Die Steckverbindung der Feder in der etwas größeren Nut nivelliert die verlegten Holzdielen. Auch bei Parkett oder Laminat findet diese Art der Verbindung statt.
Ebenso wie bei Fußböden ist das Nut- und Federbrett bei Fassadenverkleidungen oder Deckenverkleidungen üblich.
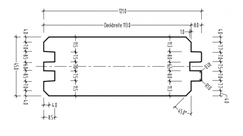
Nut- und Feder werden beim Hobel eines Brettes angearbeitet, hier mal anhand eines Rauspund Brettes gezeigt. Das Rohmaterial, also das gesägte Brett hat im Ausgang die Abmessungen von 22x100 mm. Durch die Hobelanlage wird nun die Oberfläche sauber ausgehobelt und die Rückseite egalisiert und damit auf eine einheitliche Stärke gebracht.

Beim selben Arbeitsgang wird nun an den Seiten die Nut- und Federverbindung mit ausgehobelt.
Um eine leichteres ineinander Fügen zu gewährleisten ist die Feder etwas dünner als die Nut ausgearbeitet, in diesem Beispiel 6 mm Federstärke und 6,5 mm Nut.
Konstruktiv ergibt sich durch das ineinander Schieben der Nut- und Federbretter ein Deckungsverlust. Deshalb ist es wichtig, neben dem Nennmaß auch Deckmass eines Brettes zu können. Nur so kann die benötigte Menge für eine veranschlagte Fläche korrekt berechnet werden.
Eine Besonderheit gibt es für besonders starke Bohlen mit Nut und Feder. Hier kommt eine Doppelnut zum Einsatz.

Durch die Doppelnut ergibt sich eine besonders stabile Verbindung. Das oben gezeigte Beispiel einer Blockbohle aus Fichten Holz mit Doppelnut zeigt auch noch gleichzeitig eine spezielle Kante. Die Kante ist hier gefast, dass heißt im 45° Grad Winkel gebrochen. Hierdurch entsteht eine aufgelockerte Optik der Gesamtfläche der verbauten Blockbohlen, die übrigens oft bei Garten Blockhäusern anzufinden sind.
Neben Nut- und Federbretter wie Rauspund oder den Hobeldielen für konstruktive Fußböden im Garten oder für Gartenhäuser gibt es vielseitig gestaltete Nut- und Feder Profile für Wand und Decke. Diese haben neben ihrem funktionalen Zweck der Decken- oder Wandverkleidung natürliche einen optischen Gestaltungszweck. Neben den klassischen Profilbrettern kommen vermehrt auch Rhombus Profile oder Fassadenprofile zum Einsatz.
Die gezeigte Oberflächen stellen nur ein kleine Auswahl unseres Produktsortimentes dar. Eine Gesamtübersicht über Profilhölzer / Spundprofile für Wand und Decke finden Sie auf der Seite Holz Fassadenverkleidung.
Abonnieren Sie den kostenlosen Joda® Newsletter mit Aktionen, Infos, Tipps … Gültig ab 100,00 € Einkaufswert